| X射线荧光(X-ray fluorescence,XRF)是用高能量X射线或伽玛射线轰击材料时激发出的次级X射线,是一种快速的、非破坏式的物质测量方法。X射线荧光技术可以检测植物体内大部分元素的分布信息,植物体内某些矿质营养元素的组织分布可以反映元素的运输和利用特点。X射线荧光显微镜XROS MF30可作为研究植物体内微量元素的分布和迁移特点的重要工具。 | ![]() |
测量原理
试样受X射线照射后,其中各元素原子的内壳层 ,其中各元素原子的内壳层(K,L或M层)电子被激发逐出原子而引起电子跃迁 电子被激发逐出原子而引起电子跃迁,并发射出该元素的特征X射线荧光。每一种元素都有其特定波长的特征X射线。顺利获得测定试样中特征X射线的波长,便可确定存在何种元素,即为X射线荧光光谱定性分析。元素特征X射线的强度与该元素在试样中的原子数量(即含量)成比例,因此,顺利获得测量试样中某元素特征X射线的强度,采用适当的方法进行校准与校正,便可求出该元素在 ,便可求出该元素在试样中的百分含量,即为X射线荧光光谱定量分析。

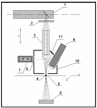
1.微焦X射线管2.狭缝和主过滤器更换器3. 多毛细管光学透镜4.样品5. XY工作台
6.照明器7.数码显微镜8.半导体能量分散探测器9.点光电二极管/ CCD10.测量室11.镜子
主要参数
参数类型 | 参数值 |
元素范围 | 11Na (Kа) –92U (Lа) |
能量范围 | 1 – 40 keV |
MnKα的能量分辨率 | <140 eV, at 50 000 cps |
物体尺寸 | 0,03*0,03mm – 150*150 mm, Z轴可达10cm |
XY工作台的精度 | 10 um |
TubeHV | till 45 kV |
最大功率 | 500 W |
自动过滤器更换器 | 锆Zr,钛Ti,钼Mo,银Ag,铝Al,铜Cu,氯Cl |
重量 | 85kg |
尺寸 | 665х615х650mm |
技术规格
光束源 |
Ø X射线管:最大电压50千伏,最大功率500瓦,阳极材料Mo,另根据要求 Ø 多毛细管透镜:具有可变尺寸的光,用于X射线波束成形束,X射线束直径30-1000μm Ø 主光束滤波器:Zr,Ti,Mo,Ag,Al,Cu,Cl |
光学电子显微镜 |
Ø 最大变焦:200х |
样本定位和映射 |
Ø 摄像机选择分析区域 Ø 光学显微镜结合X射线探头的轴来控制分析区域 Ø 样品和探针移动系统 ² 用于选择工作距离的自动化系统;分析单元沿Z轴移动,Z定位精度12μm ² 自动化平台:用于XY轴对象定位和在用户定义的样本区域上扫描,XY定位精度10μm ² 扫描最大面积:150x150 mm ² 样本最大尺寸:300х210х100 mm ² 样本最大重量:1kg |
X射线荧光分析 -用于局部元素分析的能量色散半导体探测器 |
硅漂移探测器(SDD) Ø 探测器在Mn Kα上的能量分辨率 :<150 eV Ø 光谱范围:1-40 keV Ø 最大计数率:1 000 000 pps Ø 浓度范围:从1 ppm到100% |
软件 |
Ø 控制系统:控制微探针显微镜、高压发生器模式、样品和光束定位 Ø 局部元素分析和元素映射:使用单一认证样品进行校准;几个标准样品校准曲线;确定特征线的能量和强度;定性和半定量分析(基本参数法);光谱比较和搜索光谱库中的类似物;用户定义的样本区域的元素映射;光谱和映射结果存储到数据文件;比较,减法,存储光谱的归一化;叠加光谱映射光学和射线照相图像上的图像结果;在用户定义的样本点进行自动分析 Ø 射线照相:数字化的亮度和对比度控制;缩放;测量图像点之间的距离 Ø 记录和数据存储:将图像存储在数据库中;保存测量结果并导出到其他Windows程序;数字化图像记录到外部媒体;图像和协议打印 |
真空和冷却系统 |
Ø 真空室:分析单元的组成部分,带有真空泵,用于轻元素分析 Ø 内置冷却系统:用于X射线管 |
附加零件和配件 |
Ø 控制工作站:英特尔®酷睿™i7,操作系统Windows 10,RAM 8Gb,HDD 1 Tb,24英寸显示器 Ø 校准样品 Ø 备件和消耗品 |
外形尺寸 |
Ø 分析模块尺寸(长хWхH):665х615х650mm Ø 重量(不含冷却介质):85kg |
应用案例


不同类型种子的X射线荧光成像分析:种子内钙元素与钾元素的分布进行了原位分析
茶叶的元素分布分析:


应用领域
广泛应用于地质、冶金、矿山、电子机械、石油、化工、航空航天材料、农业、生态环境、建筑材料、商检等领域的材料化 、商检等领域的材料化学成分分析。
